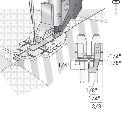
Specifications
How to use:
- Attach the Clear Stitch-in-Ditch Foot.
- Engage the IDT™ system.
- Select a straight stitch (or another stitch that has a centered needle position like the reinforced straight stitch or the straight stitch hand look quilt stitch).
- Place the quilt under the presser foot with the guide in the seam (ditch) of the pieced quiltpatches.
- The guide of the presser foot will follow exactly in the center of the pieced seams so you can quilt perfectly.







